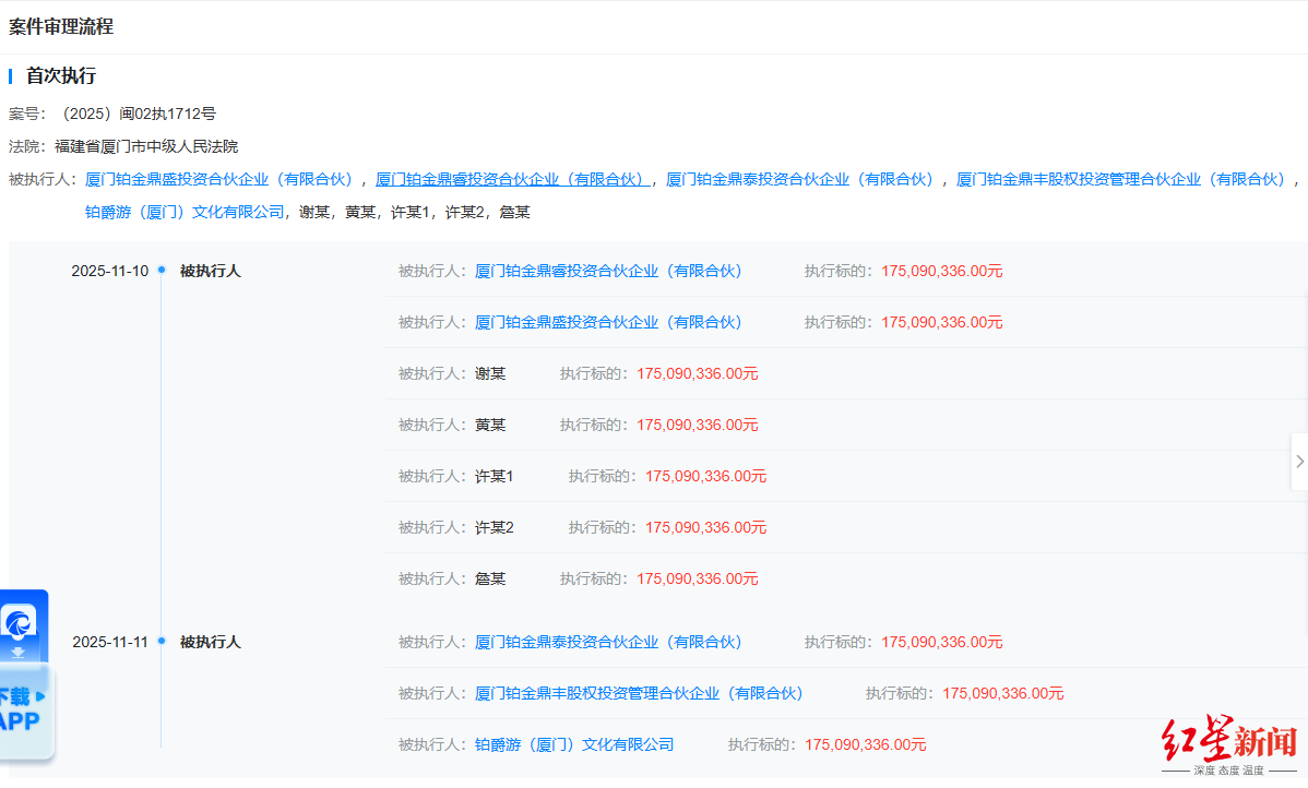
红星资本局11月12日消息 天眼查APP显示,铂爵游(厦门)文化有限公司(下称“铂爵游”)日前新增一则被执行人信息,厦门铂金鼎睿投资合伙企业(有限合伙)(下称“铂金鼎睿”)、厦门铂金鼎盛投资合伙企业(有限合伙)(下称“铂金鼎盛”)、谢某、黄某、许某1、许某2、詹某均被列为被执行人,执行标的1.75亿余元,执行法院为福建省厦门市中级人民法院。

据界面新闻,谢某、许某1、许某2分别为谢家章、许春盛、许春德。
红星资本局注意到,铂爵游为铂爵旅拍文化集团有限公司(下称“铂爵旅拍”)旗下公司,谢家章、许春盛、许春德均为铂爵旅拍股东。其中,许春盛为铂爵旅拍董事长、总经理、法定代表人,并担任铂金鼎睿、铂金鼎盛两家公司的执行事务合伙人;许春德为铂爵游的法定代表人。
铂爵旅拍成立于2014年12月,注册资本约5657万人民币,经营范围包括组织文化艺术交流活动、摄影扩印服务、摄像及视频制作服务等,由许春盛、谢家章、华润国调(厦门)股权投资合伙企业(有限合伙)等共同持股。
风险信息显示,该公司现存多条股权冻结信息,被执行人包括许春盛、厦门铂金鼎丰股权投资管理合伙企业(有限合伙)等。控制企业信息显示,该公司控制47家企业,其中28家企业处于存续状态,19家企业已注销。许春盛控制企业33家,其中16家企业处于存续状态,17家企业已注销。

图据视觉中国
红星资本局此前曾报道,今年7月,有媒体报道称,多位网友预订了铂爵旅拍的婚纱摄影,但是现在对接的工作人员微信不回、电话不接,官方售后电话也没人接,铂爵旅拍相关工作人员集体“失联”。7月18日,淘宝平台的铂爵旅拍旗舰店客服告诉红星资本局:“很抱歉,目前暂不接受新单预约拍摄,当前专注服务已拍客户的取件。”(详情请戳:铂爵旅拍被曝“失联”,客服:目前暂不接受新单预约拍摄)
据南方都市报报道,厦门市翔安区市场监督管理局工作人员曾表示,接到大量关于铂爵旅拍的投诉后,目前该公司处于停业状态,现场查看发现所有业务已停止。
红星新闻记者 俞瑶 周怡
编辑 陶玥阳 审核 官莉