
“我们都在,我们还在”
2025年9月20日,西贝创始人贾国龙联合南城香、鱼你在一起等28家餐饮品牌发布视频宣言,高调展示行业联盟力量。然而,这场看似团结的行动背后,却隐藏着西贝餐饮复杂的资本运作与社会争议。

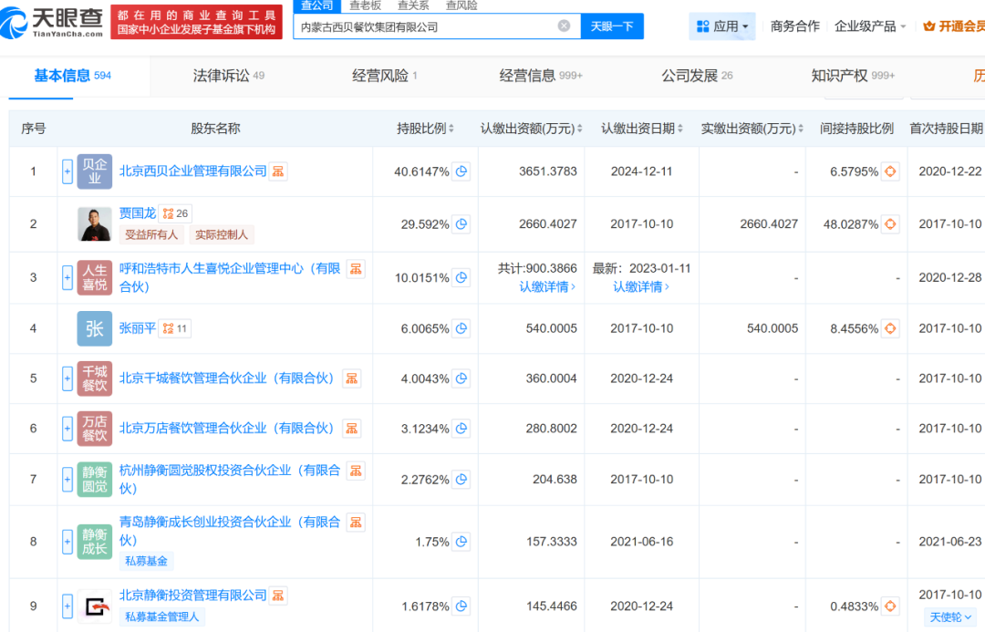
9月14日,数十人聚集西贝北京门店举牌“支持内蒙企业,维护非遗品牌”,引发公众对西贝注册地与经营地的质疑。通过天眼查查询发现,西贝采用“总部-合资公司-门店”三级架构:

据西贝官网招聘信息及企业公开数据统计:
以北京西贝家悦餐饮管理有限公司为例,其翠微路店在美团显示“营业中”,但天眼查显示该分支机构及总公司参保人数均为零。这种“经营中但零社保”的现象,暴露出西贝在劳动合规方面的重大漏洞。

尽管2023年营收达62亿元,西贝集团仍被认定为小微企业。根据国家统计局标准:
西贝通过“化整为零”策略规避大企业认定:
这种架构带来显著税务优势:

西贝模式引发三重质疑:
数据显示,西贝儿童餐年服务量达4000万人次,其高价低质问题持续引发家长投诉。这种“规模扩张-成本压缩-社会责任逃避”的循环,正在消耗品牌公信力。

西贝案例暴露出餐饮业结构性矛盾:
业内人士指出,若西贝模式被广泛效仿,将引发“劣币驱逐良币”效应,迫使合规企业通过裁员、降薪维持竞争力。监管部门需完善连锁企业认定标准,强制披露分支机构用工数据,并建立跨区域税务联动机制。
数据来源标注
[1] 视频宣言链接:https://weibo.com/6394380956/Q5uGp9T0h
[2] 西贝招聘信息:https://www.xibei.com.cn/web/recruit.html
[3] 天眼查企业数据:https://www.tianyancha.com/company/3103240364
[4] 营收数据来源:https://www.jiemian.com/article/10623092.html
[5] 企业规模标准:https://www.stats.gov.cn/sj/tjbz/gjtjbz/202302/t20230213_1902739.html
[6] 儿童餐服务量:https://news.qq.com/rain/a/20250527A03FIJ00