扫描打开手机站
随时逛,更方便!
当前位置:首页 > 娱乐星闻

宗馥莉心腹严学峰被立案调查,娃哈哈品牌授权争议再起

时间:2025-10-02 17:34:57 来源:中国能源网 作者:中国能源网


据财新网10月2日独家报道,娃哈哈集团核心成员、宗馥莉“心腹”严学峰因涉嫌违纪,已被杭州市上城区纪律检查委员会立案审查。相关立案通知书已送达娃哈哈集团党委,明确要求未经纪检委同意,娃哈哈集团不得批准严学峰出国、辞去公职,不得办理其交流、晋升、奖励、处分或退休手续。

一名娃哈哈集团高层人士向财新网透露,严学峰被调查主要涉及私人原因,但未进一步说明具体细节。

娃哈哈上海工厂推出“沪小娃”,品牌授权争议持续发酵

近日,娃哈哈上海工厂(上海娃哈哈饮用水有限公司)推出全新品牌“沪小娃”桶装水,产品宣传语沿用“至真至纯、同宗同源”。这一举动源于品牌授权争议引发的工厂停工。

9月26日,上海娃哈哈饮用水有限公司方面人士表示:“推出新品牌是为了活下去的无奈之举,做新品牌需要时间,也很难,我们有心理准备。”


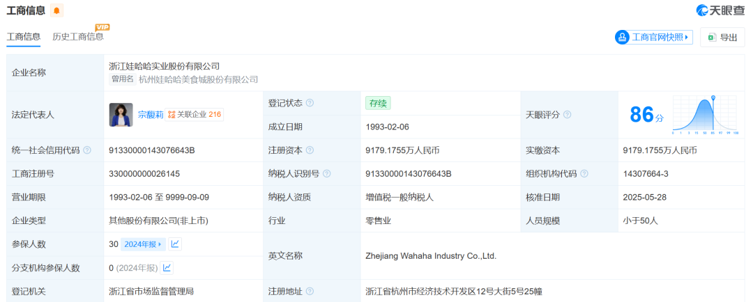
据了解,上海娃哈哈饮用水有限公司的控股公司为浙江娃哈哈实业股份有限公司,桶装水业务是其核心业绩来源。浙江娃哈哈实业股份有限公司现任法定代表人为宗馥莉,此前由娃哈哈创始人宗庆后担任。目前,娃哈哈集团持有娃哈哈实业43%的股份,内部员工持股约31.5%,社会资本持股约25.5%。

品牌授权到期,上海娃哈哈饮用水公司被迫转型

由浙江娃哈哈实业公司持股70%的上海娃哈哈饮用水有限公司成立于2002年,是“娃哈哈”桶装水在上海地区的独家经营实体,全面负责生产、销售及委托外部加工。公司董事长、法定代表人宗伟同时也是股东之一,持股30%。

2025年7月,娃哈哈集团要求上海娃哈哈饮用水有限公司停止使用“娃哈哈”品牌授权生产桶装水。宗伟在接受采访时表示:“我们立即回函要求沟通,但始终联系不上宗馥莉本人。”他还透露,娃哈哈集团的股东杭州市上城区国资方曾派调查组前往上海饮用水公司调查,并明确表示不认可此事。


据知情人士向澎湃新闻透露,宗伟实为宗庆后的堂侄。而界面新闻则报道称,娃哈哈内部人士确认宗伟为宗庆后堂弟。截至9月24日,娃哈哈方面尚未对此作出回应。

上海娃哈哈饮用水有限公司内部人士表示,由于娃哈哈品牌授权到期,公司不得不另起炉灶。总经理林立山的朋友圈显示,“沪小娃”宣传册页已推出4款常规桶装水和2款一次性桶装水产品。

据澎湃新闻报道,上海娃哈哈饮用水有限公司20多年来从未亏损,营收逐年攀升,去年已在上海桶装水市场排名前三,营收超1.2亿元。然而,被授权的两个“娃哈哈”商标已分别在2021年与2023年到期。娃哈哈集团曾在商标到期后开具分公司证明,允许其继续生产,但新的授权合同始终未达成。今年7月,集团发函要求停止使用娃哈哈相关商标,并随后向监管部门举报商标侵权。

宗馥莉或面临商标使用困境,宏胜系筹备“娃小宗”

今年2月,娃哈哈因转让商标陷入舆论风波。娃哈哈称,“娃哈哈”系列商标共计387件正在申请由杭州娃哈哈集团有限公司转让至杭州娃哈哈食品有限公司。


据悉,因历史遗留问题,在现行股权架构下,“娃哈哈”商标的使用须获得娃哈哈集团全体股东的一致同意,否则任何一方均无权使用。这意味着,宗馥莉也可能面临无法继续使用“娃哈哈”商标的境遇。

9月13日,据蓝鲸新闻报道,娃哈哈或使用新品牌“娃小宗”。杭州娃哈哈宏辉食品饮料有限公司的一份内部文件显示,自娃哈哈集团创始人离世后,公司一直努力推进解决各项历史遗留问题,为维护“娃哈哈”品牌使用的合规性,决定从2026年新的销售年度起,更换使用新品牌“娃小宗”。

天眼查信息显示,宏辉食品控股股东是杭州宏宸营销有限公司,后者持有宏辉食品100%股权。而杭州宏宸营销有限公司是宏胜饮料集团有限公司100%控股的公司。此外,“娃小宗”的商标目前归宏胜集团所有,商标申请日期为2025年5月。

9月13日晚间,《每日经济新闻》记者向娃哈哈多名经销商求证,是否收到《关于开展2026销售年度经销商沟通工作的通知》,但受访经销商均表示不知情。有经销商表示:“如果是,那也只能面对。”另有合作多年的经销商透露,今年经销的娃哈哈销量相比去年业绩高峰时有所下滑,“今年销量是去年同期的80%”。

猜你喜欢