扫描打开手机站
随时逛,更方便!
当前位置:首页 > 财经纵横

宗馥莉辞任娃哈哈职务,或另创品牌‘娃小宗’

时间:2025-10-11 03:12:44 来源:说财猫 作者:说财猫

近日,一场围绕娃哈哈集团的商业大戏持续上演,剧情不断更新,引发市场广泛关注。

据知情人士向媒体透露,宗馥莉已于9月12日正式向娃哈哈集团递交辞呈,辞去公司法人代表、董事长等关键职务,且该辞职决定已顺利通过集团股东会和董事会的相关程序。


对此,娃哈哈集团方面也向媒体确认,宗馥莉辞职一事属实。

内部人士进一步透露,此次辞职的导火索是商标使用“不合规”问题,宗馥莉有意启用新品牌“娃小宗”,开启新的商业征程。

从种种迹象来看,宗馥莉此次辞职并非一时冲动,而是早有布局,似乎决心另起炉灶,打造属于自己的商业版图。


事实上,宗馥莉想要另起炉灶的迹象早已显现。此前,一份名为“关于开展2026销售年度经销商沟通工作的通知”的娃哈哈内部文件在网络上流出。

文件中明确提到,“自娃哈哈集团创始人离世后,公司一直致力于推进解决各项历史相关遗留问题。”

为维护“娃哈哈”品牌使用的合规性,公司决定从2026年新的销售年度起,更换使用新品牌“娃小宗”。


该文件还强调,在现行股权架构下,“娃哈哈”商标的使用,须获得娃哈哈集团全体股东的一致同意,否则任何一方均无权使用。

基于此,公司将征求广大经销商的意见,并持续与相关股东就“娃哈哈”商标使用事宜保持积极沟通。


值得注意的是,该文件落款主体为包括杭州娃哈哈宏辉食品饮料有限公司在内的7家公司。


而这7家公司,均为宏胜饮料旗下业务销售主体。


更引人深思的是,落款时间恰好是宗馥莉辞职的时间——9月12日。


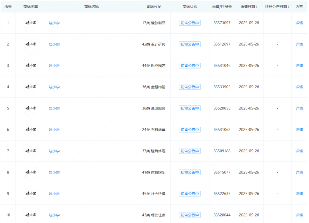
此外,“娃小宗”系列商标也归宏胜集团所有,商标申请日期为2025年2月至5月,涵盖餐饮住宿、办公用品、服装鞋帽、教育娱乐等多个领域。


众所周知,娃哈哈商标并非宗馥莉个人所有。

其股权结构为:杭州国资持股46%;宗馥莉继承宗庆后,个人持股29.4%;基层工会(职工持股会)持有24.6%。


宗庆后去世后,价值超过900亿元的“娃哈哈”品牌商标归属问题,一度引发巨大争议。

今年2月,据国家知识产权局商标局官网信息,娃哈哈集团正对“娃哈哈”系列商标进行转让,目前“申请收文”环节已结束,申请日期为2025年1月21日。


随后,娃哈哈集团发布声明称,387件“娃哈哈”系列商标正在国家知识产权局申请由娃哈哈集团转让至杭州娃哈哈食品有限公司。


今年5月,娃哈哈集团进一步回应称,“因前期娃哈哈商标的转让目前尚处于登记备案过程中,具有不确定性,为此公司不排除在近期推出全新的自有品牌,并已为此次转型做好了相关的准备工作。”

如今看来,宗馥莉在那时或许就已经在做两手准备了。

除此之外,自今年2月开始,娃哈哈一口气关停了包括陕西在内的18家工厂。

前脚关停工厂,后脚宗馥莉就出手,投资10亿在西安建设西安饮品生产基地。

目前,该项目已审批通过,宏胜饮料间接持股90%。

种种迹象表明,宗馥莉可能很早就在谋划另起炉灶了。

当然,再创一个新品牌是一回事,市场认不认就是另外一回事了。

这当中还有一个小插曲。

不久之前,宗馥莉的“心腹”严雪峰,忽然被曝因涉嫌违纪,被杭州纪委带走调查。


期间还一度盛传,宗馥莉本人也被带走了。

当然,最终证实是“假消息”,知情人士称宗馥莉前天还在正常上班。

被带走调查的严学峰,也于10月5日被解除立案审查,已经回到宏胜集团正常上班。


前脚心腹被调查,大小姐自己也盛传被带走;后脚,辞职的风声便传出来并落实了。

很难说,这二者当中是否有关联…

当然,更值得关注的是,在宗馥莉辞职之后,娃哈哈,这个曾经大家都很熟悉的民族品牌,又当何去何从?!

谁会成为娃哈哈新的掌舵者?!国资会全面进场吗?!

这事,你怎么看?

关注我们,评论区聊聊吧!

扫下方二维码,直接进群畅聊~

— 往期推荐阅读 —