近日,宝利德控股集团有限公司(下称“宝利德”)及其关联公司的破产程序迎来重要进展。这家创立于2001年的企业,曾是浙江地区最大的豪车经销商之一,然而在2024年遭遇“暴雷”事件后,于2025年正式向法院提出了破产申请。
杭州市中级人民法院于2025年9月5日裁定受理了宝利德的破产申请,并于9月28日将该案移送至杭州市西湖区人民法院进行审理。紧接着,在9月29日,西湖区人民法院指定了浙江杭天信律师事务所和浙江普华会计师事务所有限公司作为宝利德控股集团有限公司的管理人(以下简称“管理人”)。
11月4日,浙江杭天信律师事务所发布公告称,经管理人调查,宝利德控股集团有限公司与宝利德融资租赁有限公司、宝利德网络科技服务有限公司等57家公司系关联公司(以下简称“宝利德系公司”)。这57家关联公司之间法人人格高度混同,财务难以区分,且宝利德系公司资不抵债,无法清偿到期债务,符合破产条件。若分别破产将严重损害债权人公平清偿利益,因此管理人向杭州市西湖区人民法院申请对宝利德系57家公司适用实质合并破产方式进行审理。不过,在11月13日下午西湖区人民法院网上法庭召开的宝利德等多家公司实质合并破产听证会上,管理人披露的“宝利德系公司”数量为56家。
对于数量变化及案件进度,宝利德控股集团有限公司破产管理人回应财闻称,目前案件以所有公开公告为准,更多信息不方便提供。据管理人披露,截至2025年8月31日,“宝利德系公司”合并口径下财务报表显示,总资产约36亿元,总负债约68亿元,归母净资产约为负34亿元,且涉及诉讼及执行案件超过650件。

听证会后官司不断,宝利德系公司面临多场庭审
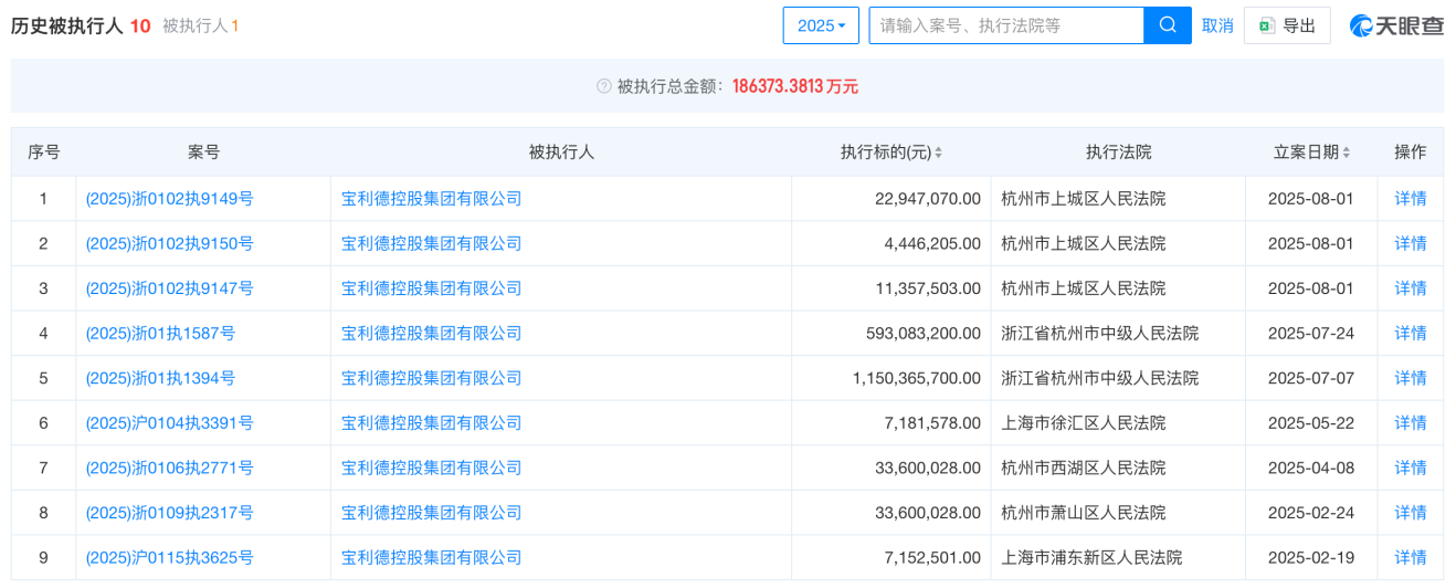
听证会后,“宝利德系公司”还将面临多场官司。11月17日、18日两天,“宝利德系公司”将以被告身份出席6场庭审。据不完全统计,2025年,仅以宝利德作被告出现的开庭信息就有近50起。另据天眼查信息,今年以来,宝利德被执行总金额超18亿元。
曾是中国民企500强,宝利德辉煌历史回顾
公开信息显示,宝利德成立于2001年,注册资本1.6亿元。公司定位于“为高净值用户提供高品质生活服务”,服务网络遍布长三角,服务客户近60万。据公司官网,宝利德曾是中国民营企业500强企业,也是浙江省前百强企业,位列中国汽车经销商集团百强榜20强。
创始人余海军早在20世纪90年代就进入了汽车行业。从2000年获得第一家汽车品牌4S店的授权开始,直到2005年浙江越星汽车有限公司成立,并获绍兴地区唯一的“梅赛德斯-奔驰轿车”授权,宝利德成功打入豪车圈。余海军先后取得梅赛德斯-奔驰、一汽大众-奥迪、捷豹路虎、劳斯莱斯、林肯、阿斯顿·马丁、保时捷等国际豪华品牌的特许授权,并成为梅赛德斯-奔驰·中国、捷豹路虎·中国、林肯·中国的战略合作伙伴。
2011年,浙江宝利德股份有限公司成立,它也是之后宝利德冲刺上市的核心公司。除此之外,集团官网显示,2016年,余海军以资本入股的形式成为中石化股东,并开展深入合作,共同探索汽车后市场。2017年,宝利德与中石化旗下的中石化易捷销售有限公司在北京正式签订合作协议,成立汽服合资公司“中石化易捷宝利德投资发展有限公司”,并以“易捷·澳托猫”品牌共同推进汽车后市场业务的开发。
其中,中石化易捷销售有限公司是销售公司的全资子公司,负责非油品业务重点项目的专业开发。宝利德旗下则拥有澳托猫汽车服务有限公司,后者依靠线上平台和线下连锁门店,为车主提供用车、养车、汽车美容、金融等一站式汽车服务。
三家券商先后辅导,宝利德上市之路坎坷
财闻梳理发现,2011年成立的浙江宝利德股份有限公司,曾计划在A股市场IPO,并在2015年、2017年和2020年,先后与海通证券、招商证券、国泰君安证券签署辅导协议,并多次被杭州市金融办列入杭州市重点拟上市企业名单。
财闻查询浙江证监局公告获悉,早在2015年12月,浙江宝利德股份有限公司首次公开发行股票并准备上市,辅导机构为海通证券股份有限公司。然而,一年多之后,海通证券发布报告称,终止浙江宝利德股份有限公司首次公开发行股票并上市的辅导工作。宝利德接受辅导的时间为2015年12月至2017年5月。
随后,浙江宝利德股份有限公司聘请招商证券担任公司首次发行公开股票的辅导机构,并于2017年9月完成辅导备案。然而时隔3年后,2020年10月13日,经过9期辅导,招商证券又一次终止了对其上市辅导的工作。
2020年11月,浙江宝利德股份有限公司上市辅导机构再次更换,此次接手的是国泰君安证券股份有限公司。截至2023年4月,国泰君安已先后发布10期辅导进展情况报告。
“暴雷”风波起,宝利德经营陷入困境
去年9月,关于宝利德经营困难的报道引发了舆论关注。据第一财经报道,从2024年9月初起,宝利德旗下绍兴、长沙捷豹路虎4S店,嘉兴奔驰店发生多起车主买车不能上牌的事件。多名车主表示,自己购买的新车迟迟无法上牌,等待上牌的时间在1~3个月不等。具体原因,车主表示新车合格证被宝利德拿到银行进行抵押,但4S店在收到购车款后未向银行赎回合格证等材料。
接踵而至的还有宝利德旗下4S店欠薪、裁员、关店的消息。彼时,宝利德对媒体回应:“公司有信心通过各项举措,快速走出特殊阶段。”然而,今年7月,宝利德的400热线已经无法接通。与此同时,宝利德集团分布在多地的汽车4S店也陆续闭店。据天眼查信息显示,今年以来,该公司被执行总金额超18亿元,法定代表人余海军三次被限消。这也导致在宝利德旗下门店购车的车主们保养、延保等权益受损。
在11月13日的听证会之后,财闻查询浙江法院网发现,11月17日、18日,“宝利德系公司”还将以被告身份面临6场庭审。原告分别是中国农业银行股份有限公司杭州城西支行、中信银行股份有限公司杭州分行,案由均为金融借款合同纠纷。据不完全统计,2025年,宝利德作为被告出现的开庭信息近50起,其中,案由涉及“金融借款合同纠纷”“融资租赁合同纠纷”“民间借贷纠纷”的超过40起。