
出品|达摩财经
11月10日,国家金融监督管理总局官网发布最新消息,富泽人寿保险股份有限公司(下称“富泽人寿”)于今年6月10日正式获批保险许可证,这一消息标志着保险行业又一重要新成员的诞生。
富泽人寿,这家新成立的险企坐落于山东省济南市,其业务范围广泛,不仅涵盖人寿保险、健康保险、意外伤害保险等各类人身保险业务,还包括上述业务的再保险以及法律法规允许的保险资金运用等,展现出其全面的业务布局。

工商信息显示,富泽人寿成立于今年6月19日,注册资本高达170亿元,显示出其雄厚的资金实力。公司共有4家股东,其中济南金投控股集团有限公司(下称“济南金控”)、济南政金通达投资集团有限公司由山东国资全资持股,两家公司分别持有富泽人寿49.71%、3.53%的股份,合计占比53.24%,成为公司的控股股东。
此外,中国保险保障基金有限责任公司、中国人保资产管理有限公司也分别持有富泽人寿35.29%、11.47%的股份,进一步增强了公司的资本实力和行业影响力。
据保险许可证显示,富泽人寿的机构住所位于济南市历下区解放东路3-21号金控大厦16层、17层,这一地理位置的选择不仅便于公司的日常运营,也体现了其与第一大股东济南金控的紧密联系,因为济南金控的地址同样位于金控大厦。
富泽人寿的领导团队也备受关注。公司董事长、法定代表人为冯毅,他今年43岁,同时担任济南市地方金融监督管理局局长,拥有丰富的金融监管经验。而富泽人寿的总经理为谢祝锋,他出生于1977年,曾任中邮人寿副总裁、财务负责人等职务,今年10月从中邮人寿卸任后加入富泽人寿,为公司带来了丰富的保险行业管理经验。
据多家媒体报道,富泽人寿的成立并非单纯的市场扩容行为,而是为化解君康人寿风险作出的重要安排。未来,富泽人寿将承接君康人寿的资产、负债,为君康人寿的稳健发展提供有力支持。
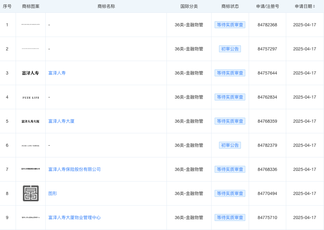
商标信息显示,今年4月,君康人寿作为申请人已经递交了多个“富泽人寿”的商标注册申请,包括“富泽人寿大厦”“富泽人寿保险有限公司”以及富泽人寿的logo等,这进一步印证了富泽人寿与君康人寿之间的紧密联系和未来承接的计划。

回顾君康人寿的发展历程,其前身昭德人寿成立于2006年,后经历过多次更名以及大股东变更。2013年后,杉杉集团进入股东行列,并通过增资巩固了地位。2015年7月,公司正式更名为“君康人寿”,开启了新的发展阶段。
然而,2017年时,辽宁知名铝加工企业忠旺集团入主君康人寿,该集团通过宁波市鄞州鸿发实业有限公司持有其50.88%的股份,忠旺集团实控人刘忠田成为君康人寿实控人,君康人寿董事长也由忠旺控股总裁路长青担任。这一变更虽然为君康人寿带来了新的发展机遇,但也埋下了风险的种子。
忠旺集团入主一年以后,君康人寿曾收到原保监会监管函,点名其在股东股权、“三会一层”运作、内部管控机制、关联交易管理等方面存在问题。同时明令,六个月内,禁止君康人寿直接或间接与辽宁忠旺集团有限公司、杉杉控股有限公司及关联方开展财务资助和资金运用类关联交易。这一监管措施对君康人寿的经营产生了一定影响。
到了2019年,忠旺集团“爆雷”,君康人寿也受到牵连。2019年年报显示,君康人寿的营收为393.62亿元,同比增长4.94%,但归母净亏损却高达19.11亿元。到了2020年三季度末,君康人寿的核心偿付能力充足率仅为102.47%,显示出其财务状况的严峻性。
此后,君康人寿再未发布年报及偿付能力报告。此前公司发布公告称,2020年至2024年年报将延期披露,预计披露时间不晚于2025年12月31日。这一消息引发了市场对君康人寿未来发展的广泛关注和猜测。
•END•
联系邮箱:damofinance@163.com
合作微信:damobd,添加请备注公司及来意