扫描打开手机站
随时逛,更方便!
当前位置:首页 > 财经纵横

20余人违规炒股罚没1.9亿!领“天价罚单”的展翔,什么来头?

时间:2025-10-08 03:05:39 来源:独角金融 作者:独角金融



作者 |郑理

来源 | 独角金融

监管多次重申莫碰违规炒股“红线”,但仍有人铤而走险。

9月末,证监会官网更新多则行政处罚决定书,直指4名证券从业人员违规炒股行为。其中,最小罚没金额32.67万元,最大罚没金额高达1.59亿元。

独角金融梳理发现,今年前9个月,券商从业人员违规炒股的案例至少有20起,违规方式多以控制或使用他人证券账户买卖股票为主,总计罚没1.94亿元,一系列典型案例揭开行业“借名炒股”的违规众生相。

1

最高被罚没1.59亿、禁业5年,

展翔、金亚平系国联民生间接股东

近日,证监会对券商从业人员开出了一张1.59亿元的罚单,创下自A股市场有史以来对证券从业人员违规炒股的最高处罚。

根据监管披露信息显示,时任证券公司从业人员的展翔,2018年2月至2024年10月,通过控制使用多个他人证券账户持有、买卖多只股票。最终,证监会责令展某依法处理非法持有的股票,罚没共计1.59亿元,因违规行为持续 时间长、情节严重,监管决定对展翔处以5年证券市场禁入措施。

且自证监会宣布决定之日起,禁入期间内,除不得继续在原机构从事证券业务、证券服务业务或者担任原证券发行人的董事、监事、高级管理人员职务外,也不得在其他任何机构中从事证券业务、证券服务业务或者担任其他证券发行人的董事、监事、高级管理人员职务。

独角金融注意到,在中国证券业协会网站的券商从业人员名单中,并未查到展翔,因此无法判断此前展翔所在的券商。不过,与展翔同名的高管曾多次以民生证券高管的身份屡次现身。

2018年3月,他以民生证券投行事业部副总裁的身份,出席了民生证券与毅达资本战略合作协议的签约仪式。

2018年9月14日,民生证券三季度战略客户沙龙活动,民生证券时任董事长冯鹤年、时任资管事业部总裁石兵,以及时任投行事业部总经理展翔等一众高管与业务骨干参加了该活动。但暂不清楚二者是否为同一人。

2021年7月16日 ,浩通科技(301026.SZ)新股发行上市仪式在深交所举行,包括该公司董事长夏军、时任民生证券投行事业部副总裁展翔等出席上市仪式并致辞。

另据自媒体“叱咤财经”获悉,展翔曾经在华泰证券(601688.SH)担任要职,并于2008年-2010年连续三年代表华泰证券出席新浪金麒麟论坛,其职位曾分别为北京总部总经理、北京分公司经理等。

除了展翔外,还有三名券商从业者也因违规炒股被罚。



图源:罐头图库

其中,2008年3月至2024年10月的16年间,金亚平使用他人证券账户违规持有、买卖多只股票。最终,证监会决定没收金亚平违法所得500.50万元,并处以500.50万元罚款,总计罚没1001万元

此次被罚的四人中金亚平违规买卖股票时间最长,是目前唯一一位在券商任职的从业人员。

证券业协会显示,2008年2月-同年4月15日,金亚平任职的机构为中国长城资产管理股份有限公司;2008年6月20日至今,金亚平就在民生证券任职已经超过17年,也是该公司投行部门的元老级人物。

自2008年8月开始至2012年10月17日前,金亚平在证券业协会的登记类别为“一般证券业务”。2012年10月19日起至今,一直在公司担任保荐代表人。



图源:证券业协会

也就是说,金亚平从进入证券行业那年就开始违规炒股,也是近年来唯一一位因违规炒股被证监会予以重罚的在职保荐代表人。

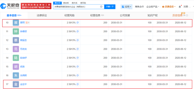
独角金融通过天眼查注意到,此次被罚的展翔和金亚平,还共同出现在名为共青城民信投资合伙企业(有限合伙)(下称“共青城民信投资”)的股东名单中,该公司成立于2020年4月,同年6月二者均成为公司股东,持股比例均为2.59%。



图源:天眼查

而共青城民信投资持有民生证券0.5%的股份,2024年,国联民生证券与民生证券合并重组,名称变更为国联民生(601456.SH),所以展翔和金亚平还是国联民生证券的间接股东。



图源:国联民生半年报

另一位被罚的邓纬安,自2016年5月开始通过他人交易相关公司股票。最终,证监会责令邓纬安依法处理非法持有的股票,没收违法所得17.5万元,并处以35万元罚款,合计罚没52.5万元。

2016年5月及2023年11月期间,赵友强通过他人交易相关公司股票。最终,证监会决定责令赵友强依法处理非法持有的股票,没收违法所得7万元,并处以25.67万元罚款,合计罚没32.67万元。

通常而言,对证券从业人员违法买卖证券的处罚中,罚款金额远低于买卖证券的交易金额,而多为违法所得金额的倍数。

以上4位当事人中,展翔被罚没的金额最高。余下被罚的3人中,赵友强被罚款金额约是违法所得的3.7倍,邓纬安被“没一罚二”,金亚平被“没一罚一”。整体看,4位当事人合计被罚没1.7亿元。

2

今年20名券商从业者违规炒股被罚

作为证券领域违法违规行为的高发地带,从业人员违规炒股一直遭遇着监管“重拳”。根据《证券公司监督条例》,禁止从业人员直接或者以化名、他人名义持有、买卖股票,收受他人赠送的股票。

在2025年“5·15全国投资者保护宣传日”活动上,中国证监会发布的2024年执法情况综述显示,2024年,证监会对38名证券从业人员违规炒股作出行政处罚,对66名从业人员、7家证券公司采取出具警示函、监管谈话等行政监管措施,合计104名从业人员被“点名”。



图源:罐头图库

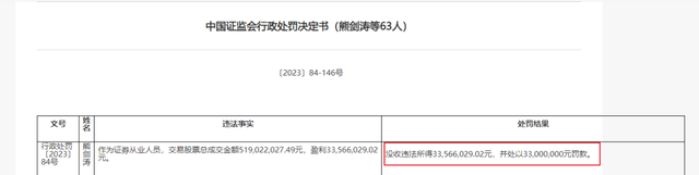
从处罚力度和金额看,2024年招商证券多名从业者违规炒股,被证监会集中查办,最终63名员工遭罚,涉及金额高达8173万元,公司原执行总裁熊剑涛违规交易股票26年,监管对其罚一没一,罚没金额6713.2万元,同时被采取终身证券市场禁入措施。



图源:证监会网站

再往前追溯,2023年末,长城证券时任副总裁韩某因违规炒股被罚一没一,罚没金额高达1.17亿元;2022年,时任海通资产权益投资部副总监刘某因违规炒股被罚一没一,罚没金额高达1.09亿元。

据“第一财经”梳理,因违规炒股被罚的券商中,有的存在多名员工“触红线”的情况,有的因高管违规炒股,公司同步遭罚。从被罚主体来看,券商分公司或营业部往往是违规炒股“重灾区”,涉事员工多为营业部投顾、营业部经理等。

2025年以来,证券从业人员违规炒股至少20人被处罚或警示,所在的券商包括民生证券、中银证券、国元证券、太平洋证券、华安证券等。

今年另一位被采取5年证券市场禁入的券商从业者孙永祥,根据1月19日重庆证监局公布的行政处罚书显示,湘财证券原总裁、高级顾问孙永祥因利用未公开信息交易、从业人员违规买卖股票等违法行为被没收违法所得721.29万元,并处1121万元罚款,共罚没1842.29万元,同时被采取5年证券市场禁入措施。

处罚书公布了具体的违法事实。

2018年4月24日至2023年8月19日,孙永祥先后担任湘财证券总裁、高级顾问。2020年1月1日至2023年8月19日期间,孙永祥通过参与湘财证券自营证券账户投资决策,通过内部微信群交流、员工工作汇报等渠道获取内幕消息。

2020年3月1日至2023年8月19日期间,孙永祥控制余某婷东方证券账户和孙某韬湘财证券账户,从事与未公开信息相关的证券交易活动,累计趋同交易股票52只,交易金额6.29亿元,无违法所得;同期,孙永祥明示、暗示傅某东、朱某尧利用未公开信息交易,二人趋同交易股票共93只,交易金额共1.18亿元,无违法所得。

2018年4月24日至2023年8月19日期间,孙永祥借用余某婷东方证券账户和孙某韬湘财证券账户买卖股票,扣除利用未公开信息交易股票部分,交易金额1.17亿元,盈利721万元。

有意思的是,孙永祥利用内部消息炒股、给他人透露内幕消息炒股均无违法所得,也就是都没赚钱

香颂资本董事沈萌表示,总裁作为主要经营责任人,不能尽职履责,长时间从事违规交易,说明公司缺少对高管的监督机制,在内控、治理结构等方面都存在严重缺陷。长时间进行违规交易,是将个人利益置于公司之上,可能损害公司及股东的长期利益。



图源:罐头图库

2022年7月28日,因个人原因,孙永祥辞去公司总裁职务。而此时距离孙永祥出任湘财证券总裁不足两年。

根据重庆证监局处罚书显示,辞任总裁后,孙永祥直到2023年8月19日还在利用内幕交易,有可能还在担任高级顾问一职。

“内幕交易是指,利用自身优势提前获知尚未被公众所知的信息而进行买卖交易并获取收益,虽然不担任总裁,但可能仍和公司员工有联系,或者仍有渠道获知券商掌握的机密信息。”沈萌说。

2025年开年,华安证券两家营业部接连收到两张罚单,存在员工长期使用办公场所电脑代客理财下单、私下接受客户委托买卖证券等违规行为。

就在4个月前,太平洋证券海口分公司总经理王攀懿从2017年2月-2024年8月(7年)交易3105万元,亏损40.5万元,还被罚款5万元。

5月12日,新疆证监局披露,中银证券乌鲁木齐东风路营业部朱某控制他人账户交易股票和可转债买入金额近3000万元,亏损20万元,被处以5万元罚款。

安徽证监局6月初披露的行政处罚决定书显示,时任中信证券信息技术中心高级经理李海鹏因“老鼠仓”交易被罚。具体来看,2019年11月1日至2023年2月21日期间,利用职务权限,获知某知名私募基金交易持仓等未公开信息,并控制妻子及妻子姊妹账户进行趋同交易。最终,李海鹏被监管“没一罚一”,合计罚没超426万元。

6月初,吉林证监局披露对1983年11月出生邵某因“老鼠仓”交易被罚,同时其还存在证券从业人员违规买卖证券行为。

2008年7月至2024年7月,邵某任职于华泰证券,系证券从业人员。2023年1月至2023年11月,邵某在分管投研系统建设期间控制“杨某”证券账户与华泰证券自营账户趋同交易58只股票,趋同买入金额3153.38万元,趋同买入股票只数占比72.5%,趋同买入金额占比59.06%,趋同盈利19.39万元。

此外,2010年1月至2024年4月期间,邵某作为证券从业人员,控制使用“杨某”证券账户持有、买卖股票,扣除利用未公开信息交易股票部分,累计买入金额3.47亿元,卖出金额3.45亿元,亏损262.61万元。

最终,吉林证监局对邵某的违法行为作出“没一罚三”的处罚,同时,对其作为证券从业人员违规买卖股票的违法行为,责令依法处理非法持有的股票,并处以30万元罚款。综合上述两项违法事实,合计对邵某罚没19.39元,并处以88.18元罚款。

结合被罚的案例看,证券从业人员或高管违规炒股,未必能从中获益,自身还有可能面临严厉的处罚,还会给公司以及自身带来不良影响。

3

为何“铤而走险”?

一边是监管持续加码的高压态势,一边是不断涌现的违规案例,证券从业人员为何屡踩“炒股红线”?



图源:罐头图库

沈萌分析称,一方面,部分从业人员难以抵御利益诱惑因此铤而走险;另一方面,当资本市场业务承压情况下,一定程度上促使个别人员试图通过违规操作扩大收益。

财经评论员张雪峰对《国际金融报》表示,违规炒股现象屡禁不止,除了利益驱动之外,还和内部治理不足、存在监管盲区、违法成本较低等因素有关。

面对严监管趋势,张雪峰建议,券商应完善合规体系,强化对高管和从业人员的交易监控,并进一步提高违规炒股的违法成本。针对监管盲区,则需要利用大数据、人工智能等技术手段,实现对异常交易行为的精准监控和快速追踪。另外,行业也需要优化举报机制,鼓励内部员工或外部人员对违规行为进行举报,形成外部监督力量的有效补充。

各家券商自2024年进一步加强对员工违规买卖股票行为的查处力度,但执行要求不一,除了向公司报备亲属的股票账号信息等基础操作,有部分券商将自查期限拉长,并采取技术手段追踪对比上网IP记录等。

“第一财经”早在4月份从业内获悉,中国证券业协会就《证券公司董事、监事、高级管理人员及证券从业人员投资行为管理指引(试行)(征求意见稿)》,要求券商从严防范从业人员违规投资行为以及强化账户申报管理工作等。

比如,要求券商对从业人员投资行为管理全覆盖,明确监测的范围和标准,通过对从业人员的手机号码、办公室电脑MAC地址、公司网络IP地址等关键信息实施监测,防范从业人员利用其配偶、利害关系人账户违规从事证券投资等行为。

这场治理行动,也折射出资本市场对券商从业人员违规炒股的“零容忍”态度的持续深化。